Расположение соединения LOKRING в холодильных приборах
- Indesit C132NFG C 138NF, ARISTON MB 1167NF, MB 1185NF Indesit B16 NF, B18 NF
- STINOL RF 305, 345, 370, Indesit C 132, C 138, CA 140, ARISTON MBA1167, Indesit B 16, B 18, BA 20, SB 167, CB 185, CB 200
- STINOL 85Q, Indesit TT85, Ariston MP 85
- STINOL 232Q
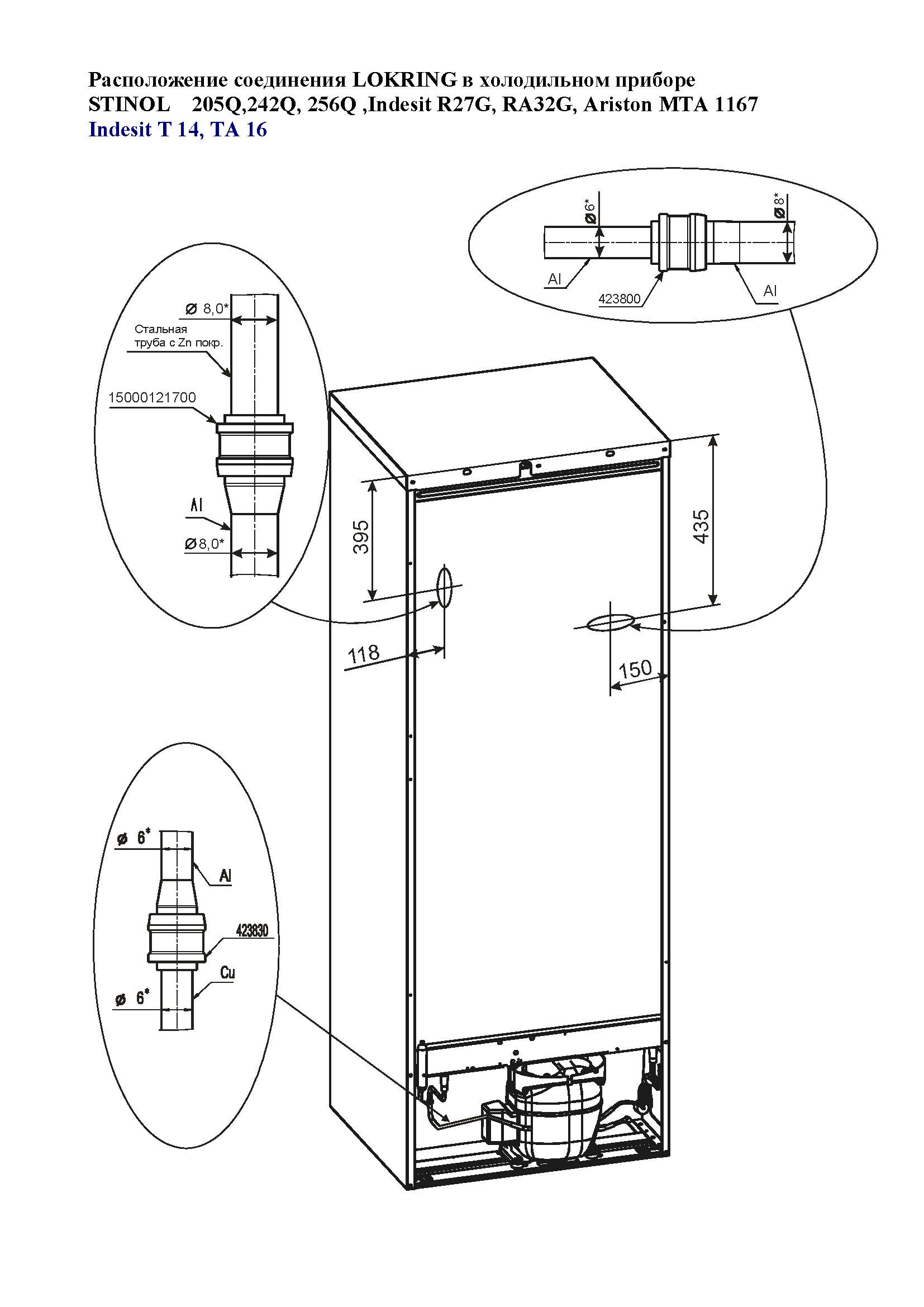
- STINOL 205Q, 242Q, 256Q ,Indesit R27G, RA32G, Ariston MTA 1167 Indesit T 14, TA 16
- Indesit RA 36 G Indesit TA 18
- Indesit R36NFG, T 18 NF, ARISTON MT 1185 NF
- Indesit C 236 NFG, Ariston MB 2185 NF Indesit BH 180 NF
- Indesit C 236, C 238, C 240, C 236NF, ARISTON MBA2185, MB2185NF, MBA 2200 Indesit BH 180, BH18, BH20, BH 180NF
- Indesit BH 18 NF Ariston MB 2185 NF с 08.2006
- ARISTON MBA2185, MBA 2200 Indesit BH18, BH20, BH 18NF с 08.2006
![]() |
![]() |
![]() |
![]() |
![]() |
![]() |
![]() |
![]() |
![]() |
![]() |
![]() |










