Теплообменник
Противоточный теплообменный аппарат, состоящий из всасывающего трубопровода и капиллярной трубки, называют регенеративным теплообменником. При обычном исполнении теплообменника поверхность теплоотдачи со стороны пара в несколько раз больше, чем от жидкости, протекающей по капиллярной трубке (КТ), а коэффициент теплоотдачи ниже. С точки зрения теплообмена конструкция этого аппарата аналогична оребренной поверхности.
Теплообменник необходим для испарения выносимых из испарителя частиц маслофреонового раствора и для перегрева поступающего на всасывание в компрессор пара, что повышает абсолютную и удельную холодопроизводительность холодильной машины и, следовательно, снижает расход энергии в холодильнике.
Конструкции теплообменников просты, и различия между ними определяются главным образом конструктивными и технологическими соображениями.
На рисунке приведены три варианта конструкции теплообменников.
- а) КТ 1 припаяна вдоль всасывающей 2,
- б) КТ навита на всасывающую,
- в) КТ проходит внутри всасывающей
Первый вариант часто применяют в холодильниках средней и большой производительности. Здесь капиллярная и всасывающая трубки спаяны на длине 1... 1,5 м. Процесс пайки механизирован: обе трубки и проволоку из припоя натягивают в приспособлении, после чего через трубки пропускают ток большой силы, разогревающий припой. В этой конструкции отношения площадей поверхностей теплообмена со стороны жидкости наибольшие.
Теплообменники, изображенные на рис. б, применяют в холодильниках малой высоты, имеющих короткую всасывающую трубку. Капиллярную трубку навивают на всасывающую и припаивают к ней. Здесь отношения площадей поверхностей меньше, чем в первой конструкции.
В третьем варианте рис. в капиллярная трубка проходит внутри всасывающей, что предохраняет теплообменник от теплопритока извне к капиллярной трубке, однако одновременно поверхность теплоотдачи к пару ограничивается наружной поверхностью трубки. Последняя по крайней мере вдвое меньше внутренней поверхности всасывающей трубки. Различие в площади поверхностей со стороны пара и жидкости определяется величиной наружного и внутреннего диаметров капиллярной трубки.
Ослабление теплопритока извне необходимо при любой конструкции теплообменника. Обычно на всасывающую трубку (по возможности по всей ее длине) надевают теплоизолирующую трубку, например из губчатой резины или вспененного полимерного материала.
Выгода от применения теплообменника (повышение пропускной способности трубки, выпаривание фреона из масла, возвращающегося из испарителя, повышение холодильного коэффициента — удельной холодопроизводительности) находится в некоторой связи с местом расположения теплообменника по длине капиллярной трубки. Охлаждение жидкого хладагента должно начинаться при возможно более высоком давлении, чтобы парообразование от дросселирования в теплообменнике не происходило или оно было ослаблено.
Если известно переохлаждение перед капиллярной трубкой и, следовательно, допустимое падение давления до момента начала парообразования, то по рис. можно определить потерю напора хладагента на 1 м длины, а значит, и допустимую длину участка капиллярной трубки со стороны конденсатора. Удлинять этот участок не рекомендуется, чтобы парообразование не начиналось до теплообменника. Укорачивать его также не рекомендуется, так как в нем жидкий хладагент продолжает отдавать теплоту окружающему воздуху и охлаждаться до температуры воздуха.
Следует избегать обдувания капиллярной трубки потоком теплого воздуха, нагретого у компрессора. При температуре конденсации 40 °С каждому градусу переохлаждения соответствует снижение давления насыщения на 0,24 МПа

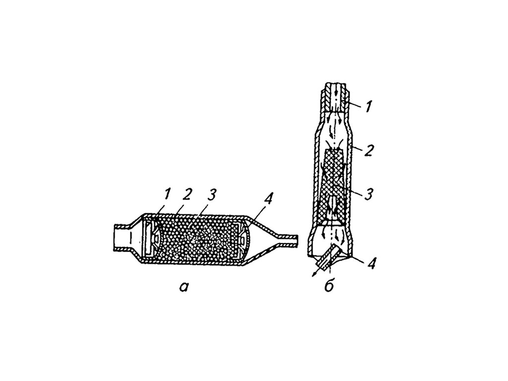
Фильтр-осушитель
Это устройство служит для поглощения влаги из хладагента и предохранения регулирующего устройства (капиллярной трубки) от замерзания в нем воды. Корпус патрона фильтра состоит из металлической трубки длиной 105...135 мм и диаметром 18... 12 мм с вытянутыми концами, в отверстия которых впаивают соответствующие трубопроводы холодильного агрегата. В корпуc рис. a — 2 патрона помещают адсорбент 3 (синтетический цеолит) между сетками 4 и обоймами 1, которые установлены на входе и выходе из патрона.
Корпус осушительного патрона изготовляют из стальных, медных или алюминиевых трубок в зависимости от места установки патрона в агрегате. При установке осушительного патрона в штампованном испарителе корпусом осушителя служит коллектор испарителя, куда помещают адсорбент в сетчатом чехле. Осушительные патроны с селикагелем устанавливают в холодной зоне агрегата — испарителе. Осушительные патроны с цеолитом размещают на стороне нагнетания перед входом в капиллярную трубку, т. е. там же, где и фильтр. В этом случае осушительный патрон совмещают с фильтром (фильтр-осушитель).
Наряду с медной сеткой используют металлокерамику. Фильтр рис. б — 3 состоит из большого количества бронзовых шариков диаметром 0,25 мм, которые в результате спекания между собой образуют столбик конической формы. Между прилегающими друг к другу поверхностями шариков имеются мельчайшие зазоры, образующие многочисленные лабиринты, по которым протекает жидкий хладагент. Для увеличения поверхности фильтра в торце большего основания конуса имеется глухое отверстие. Во входное отверстие корпуса 2 фильтра запаивают трубку 1 конденсатора, в выходное — капиллярную трубку 4.
- обойма сетки фильтра,
- корпус,
- адсорбент,
- сетка фильтра
- трубка конденсатора,
- корпус,
- фильтр,
- капиллярная трубка
Авторы: Б.С.Бабакин, В.А.Выгодин «Бытовые холодильники и морозильники»


