Основные сведения
Терморегуляторы предназначены для поддержания заданной температуры в холодильной или низкотемпературной камере бытового холодильника или морозильника.
Различают прямой и косвенный методы регулирования температуры.
Прямой метод заключается в поддержании постоянной температуры воздуха, причем чувствительный элемент терморегулятора размещается в холодильной камере, косвенный - в поддержании постоянной температуры кипения или, что почти то же самое, постоянной температуры поверхности испарителя. Оба метода имеют достоинства и недостатки. Косвенный метод регулирования температур широко применяют при конвективном охлаждении холодильной камеры. Прямой метод обычен для холодильников с принудительной циркуляцией воздуха, когда в обеих камерах температуры регулируются путем изменения количества подаваемого в них холодного воздуха.
В холодильниках с конвективным охлаждением общепринято двухпозиционное регулирование путем включения и выключения электродвигателя компрессора. Включение происходит, когда температура чувствительного элемента достигает верхнего предела - температуры включения, выключение - когда она достигает нижнего предела, т. е. температуры выключения. Разность этих температур называют дифференциалом прибора.
Ниже рассмотрены терморегуляторы, основанные на наиболее распространенном косвенном способе регулирования.

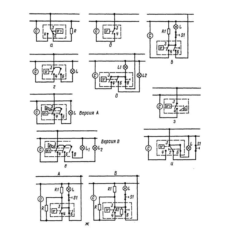
Рис. 1 Схемы электрического подключения терморегуляторов:
- 3 – 4 – основной переключатель (замыкается при повышении температуры);
- 3 – 2 – то же (размыкается при повышении температуры);
- 3 – 6 – дополнительный переключатель (открывается в положении «Выключено») для терморегуляторов К52, К55;
- 3 – 8 – то же для К56;
- 3 – 6 – сигнальный переключатель (замыкается при повышении температуры для терморегуляторов К56);
- L1, L2 – лампочки;
- С – компрессор;
- S1 – соленоидный клапан;
- R – обогреватель для размораживания;
- R – резистор обогрева рамы;
- R – резистор внутреннего обогрева
Терморегуляторы серии К
Ряд зарубежных холодильников и морозильников комплектуются терморегуляторами фирмы «Ranco» (Германия) серии К.
Терморегуляторы серии К - это капиллярные температурные регуляторы, имеющие чувствительные элементы с пар заполнителем (рис.1).

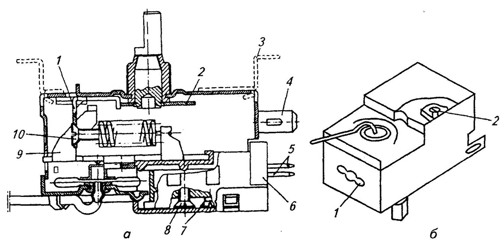
Рис. 2. Терморегуляторы типа К (К50, К54):
а — разрез:
- задвижка, управляемая эксцентриком;
- эксцентрик;
- установочная крепежная скоба (дополнительная);
- контактная клемма заземления;
- клеммы переключателя (3 сигнальные клеммы);
- переключатель;
- винт корректировки сигнала;
- винт корректировки перепада;
- рычаг;
- винт корректировки момента отключения;
б — расположение винтов подстройки диапазона (1) и регулировки перепада срабатывания (2) терморегуляторов типа К
Изменение температуры в камере приводит к изменению давления пар заполнителя, преобразуемого в движение перегородки, которое осуществляется посредством рычажной системы. При повышении температуры простой однополюсный переключатель закрывается.
| Тип терморегулятор | Рабочий диапазон* °C | Регулируемый диапазон**, K | Перепад срабатывания***, K |
| K50 | от -40 до +40 |
|
|
| K52 | от -40 до +40 | от 5 до 20 | Версия — B от 3 до 40 |
| K54 | от -40 до +40 | от 4 до 30 | от 3 до 14 |
| K55 | от -40 до +40 | от 4 до 30 | от 2 до 14 |
| K56 | от -40 до +40 | от 4 до 30 | от 3 до 14 |
| K57 | от -40 до +40 |
|
|
| K58 | от -40 до +40 | от 4 до 30 | от 3 до 14 |
| K59 | от -32 до +6 | от 4 до 18 | от 2 до 8 |
| K60 | от -40 до +40 | от 4 до 14 | от 4 до 14 |
| K61 | от -32 до +6 | от 4 до 18 | от 2 до 8 |
|
|||
Кроме терморегуляторов К22 и К61, снабженных выключателем с перебросом, все остальные терморегуляторы типа К имеют замыкающие контакты. Все модели терморегуляторов могут быть исполнены либо с положением «Выключено», либо без него. Размыкание цепи осуществляется вручную путем разрыва контактов между клеммами 3-4 (см. рис. 1) в пределах угла поворота градуированной рукоятки, равного 45°, и ее механической фиксацией в это же время. В моделях терморегуляторов, где установлен переключатель с перебросом, в положении «Выключено» клеммы 3-4 разомкнуты, а 3-2 замкнуты.
В моделях К52, К56, К57, К59, К61 размыкание цепи осуществляется при помощи дополнительного внешнего переключателя, подключаемого последовательно к основному.
Регуляторы температуры выпускают либо с устанавливаемым диапазоном температур, либо с фиксированными значениями температуры, т. е. без оси ручки терморегулятора. Вращение оси терморегулятора по часовой стрелке приводит к более «холодным» установочным значениям.
Стандартные углы (град) поворота рукоятки терморегулятора следующие:
- Регулируемый диапазон 270
- Угол в положении «Отключено»
- для терморегуляторов без положения «Выключено» 90
- для терморегуляторов с положением «Выключено» 45
- Угол в положении «Выключено» 45
Чувствительные элементы выполняют с длиной капиллярной трубки от 400 до 2500 мм.
Подстройка терморегуляторов. Терморегуляторы настраивают на заводе-изготовителе под заданные значения температуры.
Вместе с тем можно дополнительно подстроить прибор, однако при этом необходимо учитывать следующее.
В общем случае не рекомендуется подстраивать регулировочный винт перепада срабатывания. При вращении винта подстройки диапазона в моделях К22, К50 (версия А), К54, К55, К56, К.57 (версия А) смещается температурный диапазон, т. е. смещаются точки замыкания и размыкания цепи в направлении более «холодных» или более «теплых» температурных параметров (в зависимости от направления вращения подстроечного винта). При этом перепад срабатывания не изменяется.
При вращении винта подстройки диапазона в моделях К59, К61 удается сместить температурный диапазон в направлении более «теплых» или «холодных» температурных параметров. Однако при этом фиксированная точка замыкания цепи не смещается, т. е. период срабатывания уменьшается (увеличивается).
Одновременная подстройка постоянной точки замыкания цепи (для моделей К59, К61) приведет к параллельному смещению характеристики замыкания и размыкания в направлении более низких или высоких температур (в зависимости от направления вращения подстроечного винта). При этом перепад срабатывания не изменяется.
Для моделей К50 (версия В), К.57 (версия В) при регулировании подстроечного винта диапазона будет смещаться температурный диапазон, т. е. будут смещаться точки замыкания и размыкания цепи в сторону более «холодных» или менее «холодных» значений температуры в зависимости от направления вращения подстроечного винта. При этом перепад срабатывания не изменяется.
В результате регулирования подстроечным винтом температурного перепада срабатывания он увеличивается или уменьшается (в зависимости от направления вращения подстроечного винта). При этом характеристика замыкания цепи неизменна.
При регулировании подстроечного винта температурного перепада срабатывания в модели К52 характеристика размыкания смешается в сторону более низких или более высоких температур. При этом характеристика размыкания цепи остается неизменной. В процессе регулирования подстроечного винта размыкания цепи характеристика размыкания смещается в сторону более низких или более высоких температур. При этом характеристика замыкания цепи остается неизменной.
Далее описаны терморегуляторы серии К и даны схемы их электрического подключения.
Терморегулятор К22 (рис. 1, а).
Этот терморегулятор с однополюсным переключателем на два направления применяют в холодильниках для производства льда, а также в установках кондиционирования воздуха.
При повышении температуры клеммы переключателя 3-2 размыкаются, а клеммы 3-4 замыкаются. Сила потребляемого тока при переменном сетевом напряжении 250 В (частота 50 Гц) составляет 6 А.
Терморегулятор К50 (рис. 1, б).
Этот терморегулятор с однополюсным циклическим переключателем применяют в холодильниках, морозильниках, охладителях воды и напитков, а также в автомобильных кондиционерах. Регулятор выпускают в двух основных версиях: А - модель К50 со стандартным срабатыванием, фиксированная точка замыкания от 0 до +8 °C; В - модель К50 с широким перепадом срабатывания. Версию В часто используют в холодильных установках для охлаждения бутылок с напитками, чтобы температура в камере составляла от 0 до + 15 °C (в зависимости от типа терморегулятора). Клеммы 3-4 (см. рис. 6.4, 6) замыкаются при повышении температуры.
Терморегулятор К55 (см. рис. 1, б).
Этот терморегулятор с простым однополюсным переключателем применяют в холодильниках, автомобильных и комнатных кондиционерах. Клеммы 3- 4 замыкаются при повышении температуры. Сила пропускаемого тока при сетевом напряжении 250 В (частота 50 Гц) на клеммах 3-4 составляет 6 А.
Терморегулятор К52 (рис. 1, в).
Этот терморегулятор с простым однополюсным переключателем и двумя чувствительными элементами применяют в холодильниках. Клеммы 3-4 замыкаются при повышении температуры. Клеммы 3-6 разомкнуты в положении «Выключено». Этот терморегулятор принципиально отличается от других терморегуляторов серии К. Два раздельных чувствительных элемента А и В подключены к переключателю мгновенного действия: А (подключаемый к испарителю) отвечает только за функции замыкания цепи, а В (обычно помещаемый в среду, по температуре которой и осуществляется управление) - только за функцию размыкания. По сравнению с другими регуляторами данная модель характеризуется экономичным потреблением энергии. При этом контрольные точки температуры в морозильной и холодильной камерах практически не искажаются при изменении температуры окружающей среды от 16 до 32 °C.
Возможны версии:
- версия А - с постоянной температурой замыкания и регулируемой температурой размыкания, с резистором подогрева или без него, с дополнительным переключателем или без него (клеммы 3-6);
- версия В, аналогичная версии А, но имеет пересекающиеся характеристики замыкания и размыкания;
- версия С - с регулируемыми температурами замыкания и температурой размыкания, с резистором подогрева или без него, с дополнительным переключателем или без него (клеммы 3-6);
- версия D, аналогичная версии С, но с пересекающимися характеристиками замыкания и размыкания.
Сила тока, пропускаемого по цепи при сетевом напряжении 250 В (частота 50 Гц), на клеммах 3-4 и 3-6 составляет 6 А.
Терморегулятор К57 (см. рис. 1, в).
Такие терморегуляторы с простым однополюсным переключателем и дополнительным переключателем в положение «Выключено» применяют в холодильниках.
Клеммы 3-4 замыкаются при повышении температуры. Клеммы 3-6 размыкаются в положении «Выключено».
Цепь замыкается при повышении температуры и с помощью дополнительного переключателя (клеммы 3-6), подсоединенного последовательно с основным, который размыкает ток в цепи, как только терморегулятор переводится в положение «Выключено». В общем случае модель К57 выполнена в двух основных версиях: версия А - модель К57 со стандартным перепадом срабатывания; версия В - модель К57 с расширенным перепадом срабатывания (расширенная разница температур переключения). Эту версию прибора наиболее часто применяют в холодильных установках, где требуется как выполнение функции автоматического оттаивания, так и расширенный диапазон управления. В зависимости от конструкции холодильной установки и терморегулятора могут быть обеспечены температуры в холодильной камере в диапазоне от 0 до 15 °C, т. е. холодильная установка может использоваться как для охлаждения, так и для хранения продуктов.
Сила пропускаемого тока при сетевом напряжении 250 В (частота 50 Гц) на клеммах 3-4 и 3-6 составляет 6 А.
Терморегулятор К54 (рис. 1, г)
. Это терморегулятор с простым однополюсным и сигнальным переключателями. Применяют такие терморегуляторы в морозильниках. Клеммы 3-4 замыкаются при повышении температуры, а клеммы 3-6, когда достигается температура сигнализации. Дополнительный переключатель (клеммы 3-6) замыкается, как только температура замыкания терморегулятора превысит заданную величину (возможно, в пределах от 4 до 7 °C), и обычно включается предупредительный сигнал.
Сила пропускаемого тока при сетевом напряжении 250 В (частота 50 Гц) на клеммах 3-4 составляет 6 А, а на клеммах 3- 6- всего 0,1 А. Выпускают также специальные версии приборов: с постоянной температурой сигнализации; со второй температурой сигнализации, обеспечиваемой при помощи дополнительного переключателя.
Терморегулятор К56 (рис. 1, д).
Этот терморегулятор с простым однополюсным и сигнальным переключателями, а также с дополнительным переключателем в положение «Выключено» применяют в морозильниках. Клеммы 3-4 основного переключателя замыкаются при повышении температуры. Клеммы 3-6 сигнального переключателя замыкаются при достижении температуры сигнализации. Клеммы 3- 8 дополнительного переключателя размыкаются в положении «Выключено».
Цепь замыкается при повышении температуры, а также с помощью двух дополнительных переключателей. Дополнительный переключатель (клеммы 3-6) замыкается, как только температура включения терморегулятора превысит заданную величину (возможно, в пределах от 4 до 7 °C). Обычно это используется для включения предупредительного сигнала. Дополнительный переключатель (клеммы 3-8) подключается последовательно к основному (клеммы 3-4) и размыкает цепь, как только регулятор температуры переходит в положение «Выключено».
Терморегулятор К58 (рис. 1, е).
Этот терморегулятор с простым однополюсным и сигнальным переключателями, а также с кнопкой автоматического снижения температуры применяют в морозильниках и автомобильных кондиционерах.
Клеммы 3-4 замыкаются при повышении температуры, а клеммы 3-6, когда достигается температура сигнализации. Клеммы 3- 8 замыкаются, если воздействие давления преобразуется в перемещение штока (версия А без дополнительной клеммы 8).
У приборов версии А функциональная нагрузка такая же, как и у терморегулятора К54, но есть и дополнительная функция - пуск цикла быстрого замораживания до указанной (низкой) температуры с помощью штока, перемещаемого под действием давления (ход штока приблизительно 5 мм). Допускается, что значение этой температуры может быть фиксированной величиной либо параллельной характеристике размыкания. В этом случае после достижения указанной температуры основной переключатель (контакты 3-4) механически запирается и автоматически, г. е. в зависимости от температуры, сбрасывается. После этого регулятор температуры возвращается в свой регулируемый диапазон (имеет возможность ручного сброса автоматического цикла быстрого замораживания поворотом оси регулятора в положение «Выключено»).
Прибор версии В аналогичен описанному выше, но с навешенным дополнительным переключателем. Если шток под действием давления приводится в движение, то в это же время дополнительные клеммы 3- 8 замыкаются или размыкаются после достижения нужной температуры.
Сила тока при сетевом напряжении 250 В (частота 50 Гц) на клеммах 3-4 составляет 4 А, на клеммах 3- 6- всего 0,1 А, на клеммах 3- £-0,1 А.
Газовый клапан V35 (RANСО).
Этот газовый клапан предназначен для термостатического контроля за работой абсорбционного холодильника, работающего на газе. Чувствительный элемент находится в постоянном контакте с испарителем, а газовый клапан контролирует подачу газа к горелке - от минимального расхода до максимального. Рабочий контролируемый диапазон температур от -40 до +20 °C.
Регулятор V61 (RANCO).
Такой регулятор представляет собой комбинацию функций V35 (с электромеханическим переключателем для серии приборов типа К) по открытию и закрытию клапана в соответствии с температурой в испарителе. Используют регулятор в абсорбционных холодильниках, работающих на газе и электроэнергии.
Приборы для управления оттаиванием испарителя
Терморегуляторы для управления оттаиванием. Ниже рассмотрены терморегуляторы серии К, предназначенные для управления оттаиванием.
Терморегулятор К59 (рис.1, ж).
Терморегулятор имеет простой однополюсный переключатель и дополнительный в положение «Выключено». Оттаивание автоматическое при постоянной температуре включения. Применяют такие терморегуляторы в холодильниках и морозильниках.
Клеммы 3-4 основного переключателя замыкаются при повышении температуры, а клеммы 3-6 дополнительного переключателя размыкаются в положении «Выключено». Версия С выполнена без дополнительной клеммы 6.
Цепь замыкается при повышении температуры и с помощью дополнительного переключателя (клеммы 3-6), подсоединенного последовательно с основным, который размыкает цепь, как только терморегулятор переводится в положение «Выключено». Основная отличительная черта терморегулятора К59 - это то, что точка размыкания устанавливается с помощью градуированной рукоятки регулировочной оси, а точка замыкания остается постоянной во всех положениях. Поскольку такая точка замыкания располагается обычно в области положительных температур, на каждом интервале отключения компрессора начинается автоматическое оттаивания испарителя.
Терморегулятор модели К59 обычно выпускают в трех версиях:
- Версия А идентична описанной выше.
- Bерсия В также идентична описанной выше, но имеет дополнительно так называемый «поддонный» обогреватель. Он представляет собой металлический пленочный резистор R2 (сопротивление 82 кОм), подключенный параллельно основному переключателю 3-4, который при разомкнутом основном переключателе (в период отключения компрессора) обогревает корпус регулятора и поддон (перегородку) капиллярной системы. Таким образом удается избежать эффекта достижения температуры окружающей среды за время отключения компрессора, т. е. за время оттаивания испарителя. В результате подогрева поддона обеспечивается возможность того, что чувствительная точка на испарителе при оттаивании его является наиболее холодной точкой в капиллярной системе. При этом условии гарантируется нормальная работа терморегулятора.
- Версия С - без «поддонного» обогревателя и дополнительного переключателя размыкания.
Терморегулятор К60 (рис. 1, з).
Такие терморегуляторы с простым однополюсным переключателем и кнопкой автоматического оттаивания применяют в холодильниках. При повышении температуры клеммы 3-4 замыкаются и таким образом замыкается цепь. Цикл оттаивания можно запустить вручную при помощи специальной кнопки. Функция так называемого полуавтоматического оттаивания осуществляется путем нажатия соответствующей кнопки (ход около 4 мм) до ее фиксации. В результате размыкается (и фиксируется в таком положении) основной переключатель до тех пор, пока в чувствительной точке капилляра, обычно закрепляемого на испарителе, не будет достигнута температура оттаивания. После достижения этой температуры шток под действием давления возвращается в положение «Выключено» и восстанавливается обычное функционирование терморегулятора в цикле включения-выключения. Функцию оттаивания можно запустить при любом положении градуированной рукоятки терморегулятора, если же размораживание было начато по ошибке, его можно отменить, переведя ось регулятора fi положение «Выключено».
Температура оттаивания может находиться в интервале от 2 до 10 °C (но минимальная разность между температурой оттаивания и температурой, соответствующей включению функции оттаивания, должна составлять 4 К).
Сила тока в цепи при сетевом напряжении 250 В (частота 50 Гц) на клеммах 3-4 составляет 6 А.
Терморегулятор К61 (рис. 1, и).
Это циклический терморегулятор с однополюсным переключателем (на два направления) и дополнительным переключателем в положение «Выключено». Применяют такие терморегуляторы в холодильниках и морозильниках. Автоматическое оттаивание осуществляется при постоянной температуре включения. При повышении температуры клеммы 3-2 размыкаются, а клеммы 3-4 замыкаются. Клеммы 3-6 размыкаются в положении «Выключено».
Терморегулятор К61 выполняет те же функции, что и К59 (версии А, В, С), но в отличие от него оборудован однополюсным переключателем на два направления, а не простым однополюсным переключателем. Кроме того, область применения терморегулятора Кб! включает холодильные агрегаты с одним компрессором и двумя .раздельными циклами охлаждения для •.олодпльной и морозильной камер. Подключение соленоидного клапана S1 в части агрегата, обслуживающей холодильную камеру, осуществляется при помощи клеммы 3-2 однополюсного переключателя на два направления.
Функция однополюсного переключателя на два направления обеспечивается при помощи дополнительного переключателя, который навешивается на регулятор вместо крышки основного переключателя. Такой дополнительный переключатель может быть навешен на модели терморегуляторов К50, К54, К.57, К60, если на заводе-изготовителе в них установлены специально подогнанные основные переключатели.
Сила пропускаемого тока при сетевом напряжении 250 В (частота 50 Гц) на клеммах 3-4 составляет 6 А, на клеммах 3-2 - 0,2, на клеммах 3-6 - 6 А.
Термостаты «Варификс». К ним относится широкий спектр дополнительных принадлежностей к терморегуляторам серии К, которые широко используют для замены «по месту». Существует 11 различных кодов для сервисного обслуживания выпускаемых холодильников и морозильников.
Терморегулятор Т24 (RANCO).
Этот терморегулятор имеет термочувствительный элемент, позволяющий завершить оттаивание в установленный период. Периодичность оттаивания 1...24 раза в сутки, фиксированная. Окончательная температура оттаивания от 2 до 20 °C. Таймер оттаивания с включением (выключением) и различными периодами для включения (выключения) применяют в бытовых холодильниках, охладителях и т. д.
Терморегулятор Т25 (RANСО).
Этот таймер оттаивания с функциями включения (выключения) и различными периодами включения (выключения) без определенного периода оттаивания применяют в бытовых и промышленных холодильниках. Периодичность оттаивания 1...24 раза в сутки, фиксированная, безопасная продолжительность от 2 до 60 мин.
Терморегулятор 2001 (RANСО).
Он представляет собой таймер с фиксированными периодами оттаивания. Периодичность оттаивания 1...24 раза в сутки, безопасная продолжительность оттаивания от 2 до 60 мин. Применяют такие терморегуляторы в бытовых холодильниках.
Терморегулятор DFS/DFQ (RANСО).
Это программируемый таймер оттаивания с синхронным или ступенчатым двигателем. Периодичность оттаивания 1...12 раз в сутки. Продолжительность оттаивания от 2,5 до 55 мин. Применяют такие терморегуляторы в бытовых холодильниках.
Электронные терморегуляторы Е-71-75, PU1-PU7 (RANСО). Такие терморегуляторы применяют в бытовых холодильниках и морозильниках, а также в холодильниках-морозильниках, включающих систему «No Frost» и много зоновые холодильные агрегаты. Это электронные системы контроля с аналоговыми (цифровыми) показателями температуры, сигнализацией быстрого замораживания и сигнализацией сброса показателей, с таймером, управляющим оттаиванием и выполняющим функцию общего рабочего контроля.